Item Parts No. Qty. Latest Part No. Description Cut Out Cut In Comment
項目 零件號 數量 新零件號 描述
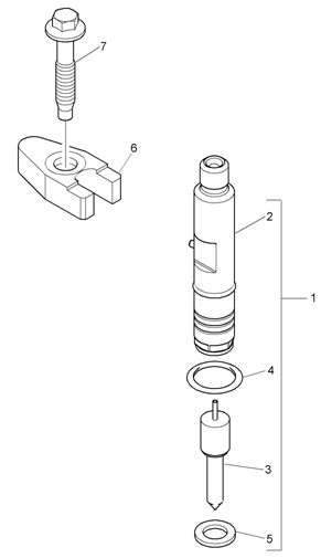
1 2645K015 4 2645K015 ATOMISER
1 2645k015 4 2645k015霧化器
(1) 2645K015R 4 2645K015R INJECTOR - EXCHANGE
(1)2645k015r 4 2645k015r噴油器交換
6 3751A241 4 3751A241 INJECTOR CLAMP
6 3751a241 4 3751a241噴油器夾具
7 2314W009 4 2314W009 SCREW
7 2314w009 4 2314w009螺釘
